Topologies for Wireless Networking
Colaboración de Electronic Products
2012-10-18
There are many different topologies that can be used for wireless networking, each with a broad set of different capabilities. Some are tied closely to a particular frequency band, including shared networks such as Wi-Fi and mesh networks such as ZigBee, both in the 2.4 GHz band, while others such as Z-wave can be used in many different bands. The unlicensed ISM bands have several different topologies and protocols that can be used, as well as point-to-point wireless networking.
Wi-Fi
Wi-Fi has become well established over the last ten years, with a low-cost infrastructure of access points and client terminals driven by its implementation in PCs and mobile phones. It uses a shared architecture with collision detection and TCP/IP packets, making it ideal for Internet connections but less appropriate for embedded applications. With a low rate network link, such as the 10 Mbit/s of 802.11b, when a node wishes to link to a busy network the collision detection forces it to fall back regularly and the data link can be very slow. This has restricted the use of Wi-Fi for industrial networking in the past. However, with the faster standards of 802.11g and the multiple in, multiple out (MIMO) of 802.11n, both providing significantly higher rates, the effect of the fall back is reduced and these 2.4 GHz technologies have become more popular for a wider range of networking applications. The MIMO capabilities of 802.11n provide more sensitivity, which translates into longer range (and fewer access points and, therefore, lower cost for a large network) or more robust links with more capacity.
However, this popularity has come at a price. As more equipment becomes network enabled – from printers to phones – so the 2.4 GHz band is becoming increasingly congested. Even with the higher data rates, this is starting to slow many 2.4 GHz Wi-Fi networks, and means the network nodes have to consume significantly more power. This means the units have to be designed for more heat, making them more costly, or run the risk of early failure and costly replacement cycles.
All this is creating more interest in the 5 GHz band defined in the IEEE802.11a standard and the emerging 802.11ac standard. This is starting to drive up volumes and drive down costs. 802.11ac is the fifth generation of Wi-Fi and uses the 5 GHz band and beam forming to provide faster throughput, higher capacity, broader coverage and longer battery life.
|
Technology |
802.11n |
5 G Wi-Fi |
|
Data Rate |
600 Mbps |
3.6 Gbps |
|
Coverage |
Most Rooms |
Whole Home |
|
Band |
2.4 GHz |
5.15-5.9 GHz |
|
Works with Existing Infrastructure |
Yes |
Yes |
|
Use Case |
Data, Compressed Video |
Video, Fast Sync |
Table 1: The differences between 802.11ac Wi-Fi and 802.11n.
The following generation of Wi-Fi, 802.11ad, uses the higher 60 GHz band to provide a higher bandwidth at a very short range of a few meters. This is being aimed at in-room coverage and cable replacement.
In the meantime, Microchip has combined its RF and low-power, low-cost microcontrollers in modules to add to equipment to provide a quick and easy way of linking them to the Internet via 2.4 GHz Wi-Fi.
The Microchip MRF24WB0MA and MRF24WB0MB are low-power 2.4 GHz 802.11-compliant surface mount modules with all the required RF components such as the crystal oscillator, bypass and bias passives. They integrate the MAC, baseband, RF and power amplifier to remove the need for the designer to handle RF and antenna issues and ensure that the equipment designs will pass regulatory compliance testing, providing significantly quicker time to market.

The modules are designed for use with Microchip’s TCP/IP software stack running on PIC18, PIC24, dsPIC33, or PIC32 microcontrollers. The stack has an integrated driver that implements the API that is used in the modules for command and control, and for management and data packet traffic though a four-wire serial slave SPI interface that provides the interrupt, hibernate, reset, power and ground signals.
This combination of the module and a PIC running the TCP/IP stack allows a wireless web server to be implemented quickly and easily, linking directly to an existing Wi-Fi network and providing a hub for automation control and access to equipment from any web browser.
ZigBee
Unlike Wi-Fi, which uses a central access point to connect the network nodes, a mesh network relies on its nearest neighbor to relay data. This can provide significant advantages for the design and implementation of wireless nodes for wide area networks. The choice of frequency depends on the range requirements but many transceivers provide significant flexibility to support a wide range of bands within a single design without needing extra external components.

The ZigBee specification, officially named ZigBee 2007, offers full wireless mesh networking capable of supporting more than 64,000 devices on a single network at 2.4 GHz around the world and in the 915 MHz band in the Americas and at 868 MHz in Europe. It is designed to connect the widest range of devices, in any industry, into a single control network and supports the largest number of interoperable standards including Building Automation, Healthcare, Home Automation, Energy Monitoring, Telecom Services and Retail Services. The protocols can also be used in a star formation with one node acting as a central controller.
While the mesh approach helps coverage, it can struggle to support high bandwidth data for applications such as streaming video. As data is routed through each node, the data rate the network can support in a stream is halved. Wi-Fi is also increasingly being used in a mesh configuration, mainly for small metropolitan networks, using higher frequency 4.9 GHz or 5.8 GHz links or WiMax as the backhaul to avoid the bandwidth limitations.
| Pros | Cons |
| Ease of planning and deployment: Intelligent nodes mean less site surveying; indoor and outdoor nodes can coexist. | Latency: The more nodes there are in the network, the more hops to route traffic, meaning increased latency. |
| Reduced backhaul requirements: Several nodes are able to use one wireless/wireline dedicated point-to-point or point-to-multipoint link. | Security: Point-to-point communications are more predictable. Routing from multiple different nodes means greater vulnerability and exposure to unauthorized access if adequate controls are not established. Rogue access points can be easily set up within the mesh. |
| Resilience: Data packets have multiple paths and can be dynamically rerouted around failed nodes or interference transparent to the user. | Non-incremental network deployment: Meshes don't lend themselves to incremental approaches; they have to be almost completely built out within a coverage area to be useful. |
| Expandability: New nodes can easily be added to self-adjusting networks. | Scalability: Single mesh networks are generally not scalable because system capacity is not reduced as more mesh APs are added. Dual- or multi-radio mesh where access and backhaul radios operate on different frequencies increase scalability. |
Table 2: Pros and cons of wireless mesh networking.
The ZigBee specification enhances the IEEE 802.15.4 standard by adding network and security layers and an application framework. This allows application profiles to be built to create multi-vendor interoperable solutions but also allows manufacturers to create their own specific profiles where interoperability is not required.
ZigBee standards have been adopted by more than 350 global manufacturers representing annual revenues exceeding $1 trillion, according to a 2010 report from ONWorld. The ZigBee Certified products are used by millions of consumers and businesses worldwide.
For ZigBee applications, Atmel’s AT86RF230-ZU is a CMOS 2.4 GHz transceiver specifically designed for 802.15.4 and ZigBee with all the RF-critical components except the antenna, crystal and de-coupling capacitors integrated on-chip and can be used with an external microcontroller like Atmel’s AVR family.
It comprises the analog radio transceiver and the digital demodulation including time and frequency synchronization and data buffering. Only an antenna, a crystal and four decoupling capacitors are required. The bidirectional differential antenna pins are used for transmission and reception so that no external antenna switch is needed.
Running in the 2.4 GHz band also allows the device to be used for variants such as WirelessHART and the SP100.11a protocol, as well as low power 6LoWPAN and RF4CE protocols.
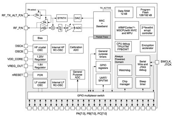
Now part of Silicon Labs, the EM351 and EM357 ZigBee chips from Ember are the industry’s first ARM Cortex-M3-based family of SoCs and combine a 2.4 GHz IEEE 802.15.4 radio transceiver with a 32-bit M3 microprocessor, Flash memory and RAM with powerful hardware supported network-level debugging features. This, combined with the powerful ecosystem of ARM tools, enables OEMs to simplify development and accelerate time to market.

The EM300 Series SOCs can also be used as a network co-processor, using Ember’s EZSP protocol, supported by EmberZNet PRO 4.3.0 and later version software. The high transmit power virtually eliminates the need for an external Power Amplifier (PA) in most applications especially in Europe and Asia. Where PA is required, the product is designed to allow an external PA or Front End Module (FEM) to be easily connected.
Developers can take advantage of the integrated EmberZNet PRO networking library to incorporate short wake cycles to keep power consumption low. Also, integrated clocks provide optimized wake- sleep cycles to conserve power. The integrated voltage regulator supports a wide range of operating voltages allowing hardware designs to be optimized for lithium-ion or alkaline batteries without additional circuitry.
EmberZNet PRO is a complete ZigBee protocol software package containing all the elements required for sophisticated mesh networking applications on Ember’s silicon platforms.
JenNet
Jennic, in the UK, developed its own version of ZigBee, called JenNet, for short-range wireless networking applications based on the IEEE 802.15.4 specification. This is optimized for low power, low data-rate, cost-sensitive applications with a small code footprint compared to the standard based ZigBee protocol stack.
The JN5148-001 from NXP is an ultra-low power, high performance wireless microcontroller targeted at JenNet and ZigBee PRO networking applications. This uses an enhanced 32-bit RISC processor offering high coding efficiency through variable width instructions, a multi-stage instruction pipeline and low power operation with programmable clock speeds. It also includes a 2.4 GHz IEEE802.15.4 compliant transceiver, 128 kB of ROM, 128 kB of RAM, and a rich mix of analog and digital peripherals. The large memory footprint allows the device to run a network stack such as ZigBee PRO or the proprietary JenNet protocol, as well as an embedded application or in a co-processor mode. The operating current is below 18 mA, allowing operation direct from a coin cell.
Application development must consider the requirements of the wireless network in addition to the product functionality and user interfaces. To minimize this complexity, NXP provides a series of software libraries and interfaces that control the transceiver and peripherals of the JN5148. These libraries and interfaces remove the need for the developer to understand wireless protocols and greatly simplify the programming complexities of power modes, interrupts and hardware functions.
The transceiver comprises a 2.45 GHz radio, a modem, a baseband controller and a security coprocessor as well as an output to control transmit-receive switching of external devices such as a power amplifier. This allows applications to be built that require increased transmit power to give more range or cope with a more hostile radio environment in an industrial setting.
Other ISM bands
The lower frequency ISM bands at 868 MHz and 915 MHz provide a longer range with lower data rates and some companies have used these bands to implement their own mesh network technology. The Synapse SM301 is a long-range, reliable, surface mount 868 MHz transmitter receiver module with a range of up to one mile and power consumption as low as 2 µA. The SM301 RF Engines come pre-loaded with the Synapse SNAP mesh network operating system and provide interoperability with all other SNAP RF Engines. It has a chip antenna and the SM301PU1 has an additional U.FL antenna connector.
With 15 general purpose IO pins and up to 18 analog-to-digital inputs, it can be used to gather data from the system while the one UART port can be used for control or transparent data. In a low power mode it uses just 2 µA with the internal timer running, extending the battery lifetime.
The SNAP core uses a total of 192 K of flash memory with 64 K free for uploading program scripts, and 20 K for over-the-air updates, with 64 K reserved.
Using spread spectrum (DSSS) technology avoids problems in noisy electromagnetic environments and an optional 18 dBm transmit amplifier can be used to boost the range alongside the 10 dBm receiver amplifier. There are multiple antenna choices for the module, from the RF100PD6 with an SMA connector (reverse-polarity) for an external antenna to the RF100PC6 with an embedded “F” antenna that can extend the range to 3 miles.
It is possible to build a proprietary network topology such as point-to-multi-point using discrete transceivers and a protocol stack running on a separate microcontroller.
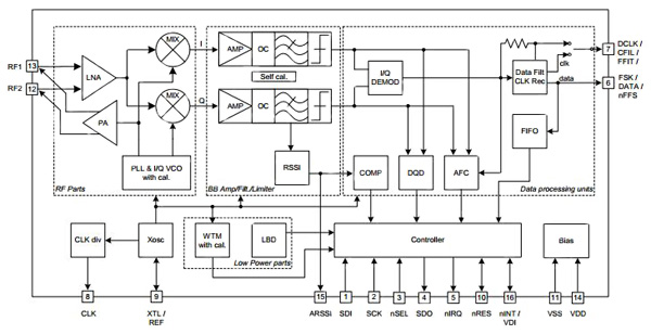
Silicon Labs has developed a single-chip, low-power, multi-channel FSK transceiver designed for use in applications requiring FCC or ETSI conformance for unlicensed use in the 315, 433, 868 and 915 MHz bands. The Si4420 Universal ISM Band FSK Transceiver is part of the EZRadio system that produces a flexible, low-cost, and highly-integrated solution that does not require production alignments.
The Si2440 is a complete analog RF and baseband Zero-IF transceiver including a multi-band PLL synthesizer with PA, LNA, I/Q down converter mixers, baseband filters and amplifiers, and an I/Q demodulator so that only an external crystal and bypass filtering are needed. It has an integrated PLL for easy RF design, and its rapid settling time allows for fast frequency-hopping. This bypasses problems from multipath fading and interference to provide the robust, reliable wireless links that are needed for the home.

Conclusion
There are many different ways to implement a wireless network, but mesh topologies are increasingly being used, both by the original ZigBee 802.15.4 standard and now by Wi-Fi to provide an ad hoc network that can be easily expanded. Wi-Fi provides low-cost access points and terminals, but is suffering from its success and networks are becoming crowded for the 802.11g and n protocols. The coming 802.11ac standard moves to more channels at 5 GHz and provides new opportunities to innovate with wireless architectures. At the same time the other ISM bands continue to provide longer range for lower power consumption if the bandwidth requirements are lower and still provide opportunities for innovative network designs.
Descargo de responsabilidad: Las opiniones, creencias y puntos de vista expresados por los autores o participantes del foro de este sitio web no reflejan necesariamente las opiniones, las creencias y los puntos de vista de DigiKey o de las políticas oficiales de DigiKey.




